我们非常重视您的个人隐私,当您访问我们的网站时,请同意使用的所有cookie。有关个人数据处理的更多信息可访问《隐私政策》
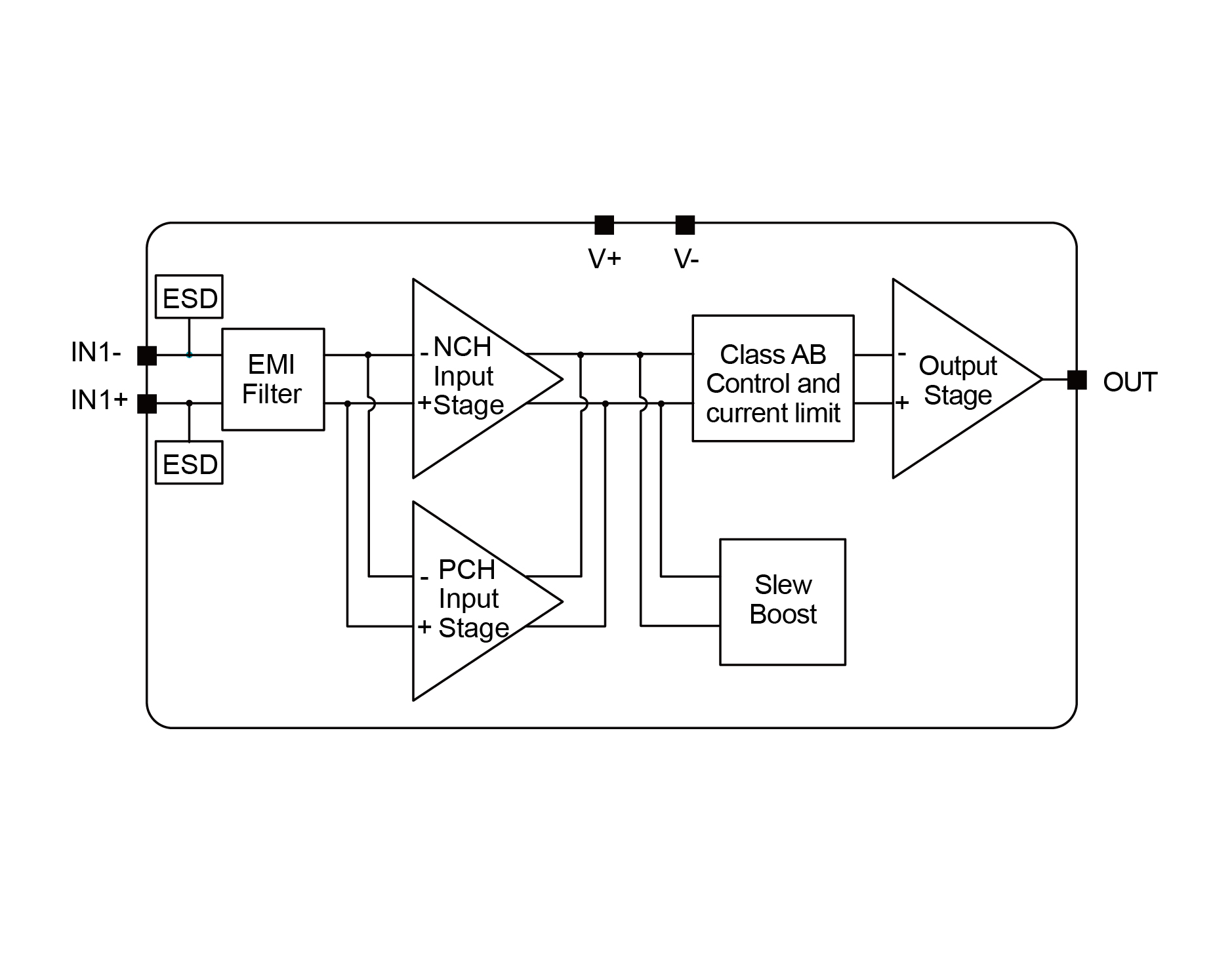
NSOPA810xQ 系列是低电压(1.8V 至 5.5V)、通用的低功耗运算放大器(op amp),具有轨到轨输入和输出摆幅能力。这些运算放大器提供了一个经济高效的解决方案,适用于需要低电压操作和高电容负载驱动的应用。NSOPA810xQ 系列的电容负载驱动能力为 1nF,且开环输出阻抗为电阻性,使其在更高电容负载下更易于稳定。NSOPA810xQ 系列的稳健设计简化了电路设计。这些运算放大器具有单位增益稳定性、集成的 RFI 和 EMI 抑制滤波器,并在过驱条件下无相位反转。其微型封装如 SC70-5,以及行业标准封装如 SOT23-5L、SOP、MSOP 和 TSSOP 封装均可选。
产品特性
• 供电电压范围:1.8V 至 5.5V
• 轨到轨输入和输出
• 低输入失调电压:±0.3 mV(典型值)
• 增益带宽积:10 MHz
• 单位增益稳定
• 符合汽车应用的 AEC-Q100 认证
• 低宽带噪声:12 nV/ √ Hz(典型值)
• 低输入偏置电流:5 pA(典型值)
• 低静态电流:765 µA/ 通道(典型值)
• 内置 RFI 和 EMI 滤波器
• 扩展温度范围:–40° C 至 125° C
应用场景
• 传感器信号调理
• 电源传输:UPS/电源模块 / 太阳能
• 逆变器 / 伺服 / PLC / 电机驱动器
• 低侧电流检测
• ASIC 输入或输出放大器
功能框图


如您需要咨询产品更多信息,请点击“联系我们”,我们将尽快回复您!