我们非常重视您的个人隐私,当您访问我们的网站时,请同意使用的所有cookie。有关个人数据处理的更多信息可访问《隐私政策》
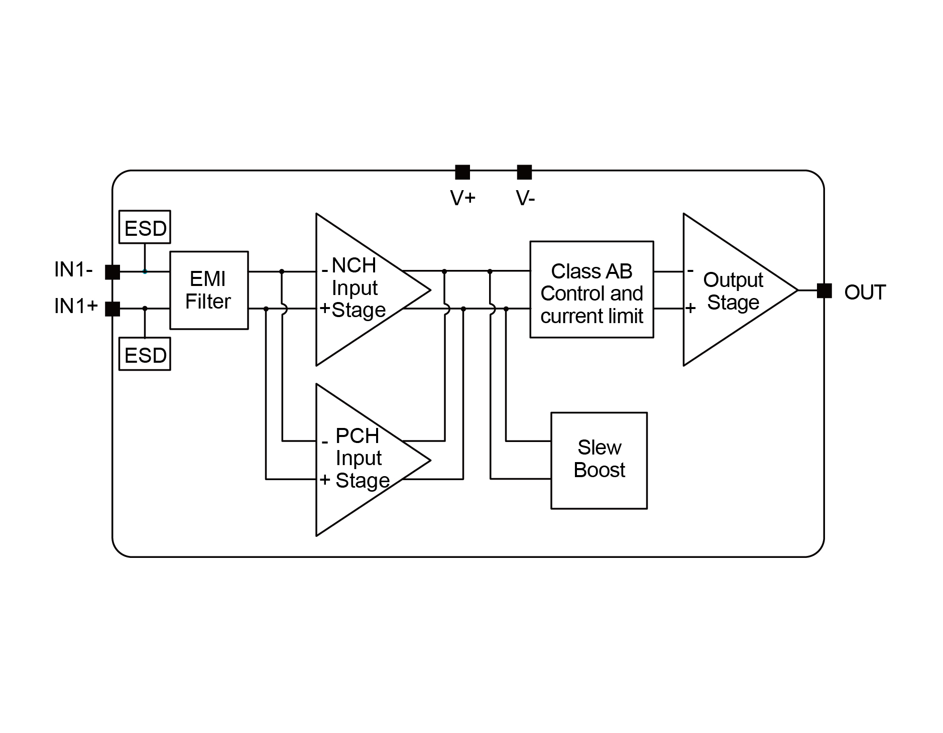
NSOPA805xQ 系列是一款低电压(1.8 V 至 5.5 V)、通用、低功耗的运算放大器,具备轨到轨输入和输出摆幅能力。这些运放为需要低电压操作和高电容负载驱动的应用提供了经济高效的解决方案。NSOPA805xQ 系列的电容负载驱动能力为 1nF,开环输出阻抗为电阻性,使得在更高电容负载下更容易实现稳定。NSOPA805xQ 系列的稳健设计简化了电路设计。这些运放具备单位增益稳定性、集成的 RFI 和 EMI 抗干扰滤波器,并且在过驱动条件下不会发生相位反转。该系列还提供微型封装,如 SC70-5,以及行业标准封装,如 SOT23-5L、SOP、MSOP 和 TSSOP 封装。
产品特性
• 供电电压范围:1.8V 至 5.5V
• 轨到轨输入和输出
• 低输入失调电压:±0.35 mV(典型值)
• 增益带宽积:5 MHz
• 单位增益稳定
• 符合汽车应用的 AEC-Q100 认证
• 低宽带噪声:16 nV/ √ Hz(典型值)
• 低输入偏置电流:5 pA(典型值)
• 低静态电流:360 µA/ 通道(典型值)
• 内置 RFI 和 EMI 滤波器
• 扩展温度范围:–40° C 至 125° C
应用场景
• 传感器信号调理
• 电源传输:UPS/电源模块 / 太阳能
• 逆变器 / 伺服 /PLC/电机驱动器
• 低侧电流监测
• ASIC输入或输出放大器
功能框图


如您需要咨询产品更多信息,请点击“联系我们”,我们将尽快回复您!