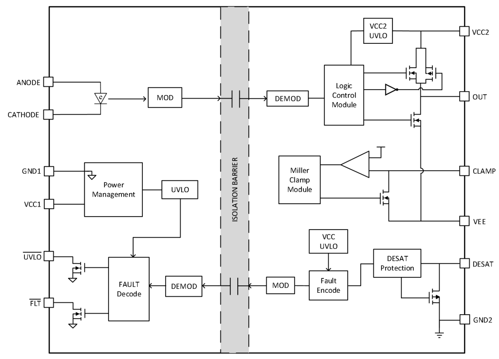
NSi68515 is an optocoupler-compatible single-channel smart isolated gate driver designed to drive and provide protection for safe operation of IGBTs, power MOSFETs and SiC MOSFETs in many applications. NSi68515 can provide up to +5A/-5A source/sink current capability, with a maximum power supply voltage of 32V on the driver side and a power supply voltage of 3V to 5.5V on the input side. It can provide excellent protection function, such as UVLO, Miller clamp, DESAT protection, and soft shutdown, etc., and send alarm by a separate pin when detecting a short circuit fault or undervoltage. It is available in automatic alarm reset version, rail to rail output version and non-rail to rail output version. It supports a minimum common-mode transient immunity (CMTI) of 150kV/μs to improve system robustness. NSi68515 features high driver current, wide range of power supply voltage, high CMTI, and has excellent protection function, which is suitable for motor drive, inverter,
switching power system and other systems with high reliability, high power density and high efficiency.
Product Features
• Smart isolated single-channel driver
• Input side supply voltage: 3V - 5.5V
• Driver side supply voltage: Absolute max rating 35V, with UVLO
• Peak 5A/5A source/sink current capacity
• High CMTI: 150kV/us
• 100ns typical propagation delay
• 100ns maximum pulse width distortion
• Acceptable minimum input pulse width 40ns
• NSi68515LC/UC/AC rail to rail output, NSi68515AC non-rail to rail output
• NSi68515AC/RC supports automatic resetting
• Protection mode
• Miller clamp 4.0A
• DESAT protection, with threshold of 6.5V
• Support soft shutdown function, with soft shutdown current of 140mA
• Support alarm feedback
• Working temperature: -40°C~125°C
Safety Certificate
• UL1577 certification: 5.7KVrms (under qualification)
• CQC certification: GB4943.1 -2011 (under qualification)
• CSA certification: Components 5A qualified (under
qualification)
• VDE certification: DIN V VDE V 0884-11:2017-1 (under
qualification)
Application
• EV motor driving system
• A/C compressor
• DC-AC solar inverter
• Motor driver
• UPS and battery charger
Functional Block Diagram


For more product information, please contact us.